詳細介紹
產品特點及用途
ZLF6型自力式平衡閥,是一種利用介質自身的壓力變化進行自我控制而保持流經該被控系統流量不變的閥門,并具有流量指示,調節方便,適用于供熱空調等非腐蝕性介質的流量控制。運行前一次性調節。即可使系統流量自動恒定在要求的高寒值。
主要技術參數
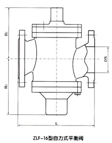
主要外形尺寸 (法蘭連接PN1.6Mpa按JB、T79-94標準)
產品尺寸![]() |
溫馨提示:“ZLF-16型自力式平衡閥”所有文字、數據、圖片均只適用于參考。
如需與實物相吻合的性能參數、結構尺寸參數等詳情請來電來函索取。
電話:021-68103333 傳真:021-51686322
如需與實物相吻合的性能參數、結構尺寸參數等詳情請來電來函索取。
電話:021-68103333 傳真:021-51686322

軟密封蝶閥視頻介紹




掃一掃關注我們